發布時間:2026-01-13 13:56:11作 者:大漢機械瀏覽次數:次
陶瓷原料鏈斗式提升機是主要輸送陶瓷原料的一臺機械設備。陶瓷原料是指所有可用于制備陶瓷制品的天然礦物原料及人工合成的化工原料。從原料倉庫到配料車間,從破碎工序到粉磨工段,大量粉狀、顆粒狀及小塊狀的陶瓷原料需要輸送至不同的點位。而在這中間鏈斗式提升機是扮演一個重要角色,它可以垂直或者大傾角的將物料從低處向高處連續輸送。提升高度可達數十米,輸送能力根據型號不同,每小時可從數立方米到上百立方米,符合陶瓷生產線對大批量、連續性原料輸送的需求。

核心優勢
鏈式提升機在不同的應用中展現不同的優勢。
提升高度大、輸送能力強。堅固的鏈條牽引使其能夠實現較高的垂直提升(通常≤40米,特殊設計可達更高),且料斗密集布置,單位時間內輸送量大。
適用范圍廣,論是密度較大的硅砂,還是略帶粘性的粘土粉,或是顆粒狀釉料,鏈斗式提升機都能有效輸送。
結構堅固耐用,采用金屬鏈條和鋼制料斗,耐磨性好,壽命長,能承受陶瓷原料中可能含有的磨蝕性成分帶來的磨損。

原理
鏈斗式提升機啟動后電機驅動頭部頭輪旋轉,帶動無極牽引鏈條循環運轉。固定于鏈條的料斗行至底部時,運行方向轉為向上,將進料口原料“掏取”入斗。料斗滿載物料被平穩提升至頭部,繞過頭輪時方向改變,物料主要依靠自身重力從斗中卸出,經卸料口排入指定設備。空料斗隨后沿下行分支返回底部,重新開始掏料,形成連續工作循環。

結構組成
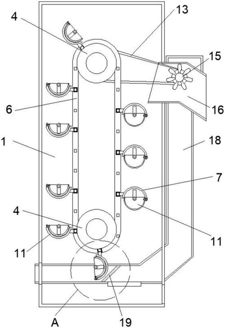
鏈斗式提升機主要由牽引構件、料斗、驅動裝置、頭輪、尾輪、機殼與張緊裝置組成。
牽引構件與料斗:牽引構件通常采用高強度、高耐磨性的圓環鏈或板鏈,負責傳遞動力并承載料斗和物料的總重量。料斗則用鋼板沖壓或焊接而成。
驅動裝置:包括電機、減速器、逆止器或制動器。
頭輪與尾輪:頭輪與尾輪是牽引鏈條的支撐與導向輪。
機殼:通常由頭部機殼、中間段機殼和尾部機殼三大部分用鋼板焊接而成,形成連續的封閉空間。
張緊裝置:通常位于尾部,通過螺桿、彈簧或重錘等機構調整尾輪軸的位置,從而自動或手動調節鏈條的松緊度

應用
陶瓷原料鏈斗式提升機除了輸送陶瓷原料外還可以廣泛用在其他方面。在建材與水泥行業,可以垂直提升水泥生料、熟料、礦渣、粉煤灰、石灰石粉、石膏等。在冶金與礦山行業,可用來提升礦石、礦粉、燒結礦、球團礦等物料。在化工與化肥行業還可以用來提升塑料顆粒、尿素、復合肥、純堿、磷酸鹽等。在其他方面也能用來輸送提升玉米、小麥等原糧至清理塔或倉儲;提升顆粒飼料至成品倉。還能提升生活垃圾焚燒后的爐渣、生物質顆粒燃料、廢舊塑料碎片等。

對于陶瓷原料鏈斗式提升機,每個廠家可能都會有做,但是我們廠家所做的設備以質量為核心,質量貫穿于制造與測試的全流程:從鋼材入庫檢驗到焊接無損探傷,從空載與負載的逐級調試到關鍵軸承位的溫升監控,每臺設備都需通過嚴于行業標準的出廠測試。
